
Download Anime Magic Knight Rayearth Sub Indo Scarlet
By admin 08/11/19
67 Coments

Magic Knight Rayearth. Saya coba klik DOWNLOAD NOW malah download aplikasi downloader gak jelas gitu gan. Anime Sub Indo. Cardcaptor Sakura; Detective Conan.
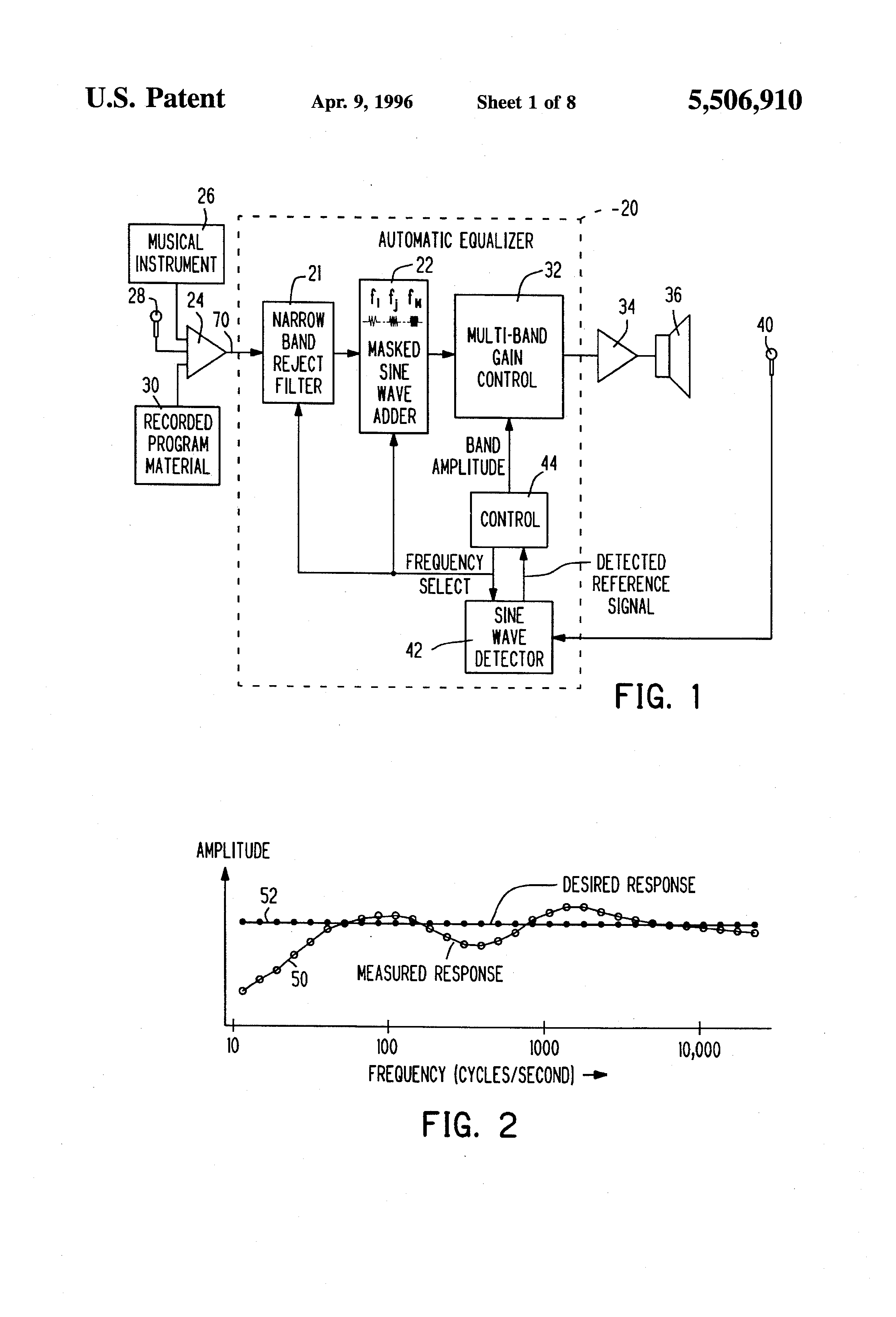
Program Minitor V Narrow Band Filters
By admin 08/11/19
27 Coments

I'm thinking about getting a Motorola Minitor IV or V but don't know much about how they work. I assume you purchase for the frequency band on which the tones are dispatched, which in my case will be VHF high.
Ldoce5 For Windows
By admin 08/11/19
60 Coments

That's where the LDOCE5 Viewer comes in handy— a fast, user-friendly alternative that will make you 'want' to look up words! If you are like me and the horribly-designed Longman dictionary software drives you crazy, follow these steps now: 1. Install the Longman Dictionary software To start with, make sure the Longman Dictionary of Contemporary English (5th Edition) is already installed on your computer – you'll need its database. Download and install the LDOCE5 Viewer The app is free and available for Windows, Mac, and Linux. Set up the application As you see in the images below (Windows version), setting up the LDOCE5 Viewer is more than easy. The process can take some time (3-10 minutes) of course, but it is definitely worth the wait! Run the downloaded software: ldoce5viewer-setup Choose a destination for installing the software on your computer.
Fortran Read Last Line From File
By admin 08/11/19
8 Coments

May 6, 2008 Most scientific applications require a set of parameters such as dimensions, starting values, and error tolerances. In Fortran one has the option of hard-coding those values in the source code itself, changing them and recompiling the program as needed, or using a control file approach where the parameters are read from a plain text file. After a few hundred iterations of the edit-compile-run loop one starts to appreciate the second approach. Control files also facilitate reproducible research as the same source code can be used to generate multiple sets of results or figures, each with a separate control file. A simple approach is to require the parameters to be given in a text file in a particular order.
Nero 2014 Cd Key Generator Serial Numbers
By admin 08/11/19
59 Coments
:max_bytes(150000):strip_icc()/windows-product-key-viewer-597f8d0b054ad900116e50aa.png)
Nero Burning ROM 2018 Full Patch + Serial Number Latest Download Nero Burning ROM 2018 Information: Nero Burning ROM 2018 Crack Final is a wonderful and the world’s most powerful optical disc authoring and burning software for generating high-quality CD, DVD, and Blu-ray Discs. Nero Burning ROM 2018 Patch is the industry standard optical disc authoring program that is used through millions of people around the world to burn data, music, video and so on into CD / DVD / Blu-ray discs. As well as its burning functionality, Nero Burning ROM 2018 Crack also lets you create, copy, rip, convert, and protect disc image files. All the tools are packed in a super-instinctive interface. Nero Burning ROM 2018 License Key is the latest version of this software, it comes with numerous changes and developments in addition to some new features that are superior in its class. Nero Burning ROM 2018 Keygen fully-supports a number of optical disc image formats and data safe and secure technology to ensure the greatest results and maximum reliability.
Vm Tools Microsoft Runtime Dll Installer Failed To Complete Installation
By admin 08/11/19
54 Coments

Here’s a quick post on installing VMware Tools inside Windows Server 8 Core Beta (Note the Tools version this was tested against is the version that is available via ESXi 5 Build 515841): 1) Mount the VMware Tools installer for the VM and switch to the CD-Rom drive. (Note: the screenshots below show a session where I was already running PowerShell, not cmd.exe) 2) Run setup. 3) Work through the wizard, selecting the appropriate options: 4) Alternatively, you could use some of the command line options for installing VMware Tools, e.g. The below will perform a quiet install and reboot automatically: setup64.exe /s /v/qn 5) Here’s confirmation of the successful install.